Honda’s recent patents shows a rather
interesting idea: rather than employing a tinted film that goes in place
permanently or stow able fabric shades, the patent shows windows with some type
of surface that can adjust the amount of light it lets in. Imagine something
like Transitions lenses for glasses, or the Smart Glass
Patents abstract:
Dimming
control device includes a transmittance changing part provided on a windshield
of a vehicle and configured to change light transmittance of the windshield; a
detector configured to detect a position of a contact operation on the
windshield by a user; and a dimming control part configured to change the
transmittance according to the position of the contact operation on a detection
surface of the detector on condition that the detector has detected a contact
operation at a control start region which is preset within the detection
surface.
What takes
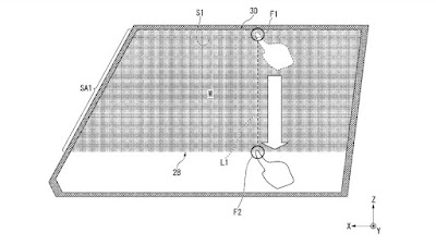
the idea a step further is touch controls and adjustability. The patent drawing
illustrates how a passenger could decide how much of the window needs shading
by simply dragging a finger along the glass to the desired point. This would be
very useful on any side window in the car to give passengers, and even the
driver, some shielding from the sun when not driving straight into it. The one
downside we can see is the accumulation of finger prints and smudges on the
interior glass (which would be especially bad on the windshield Honda’s recent patents shows a rather
interesting idea: rather than employing a tinted film that goes in place
permanently or stowable fabric shades, the patent shows windows with some type
of surface that can adjust the amount of light it lets in. Imagine something
like Transitions lenses for glasses, or the Smart Glass
Note:
http://www.autoblog.com/2016/11/03/honda-patent-touch-sensitive-window-shade/

You should simply get your hands for barely anything window tinting and introduce them on your auto. Window Tinting Perth
ReplyDelete67F8BB7B15
ReplyDeleteTakipçi Satın Al
TT İzlenme Hilesi
Perde Kumaşı